欧洲杯体育在31个申万一级行业中-开云彩票官方网站 登录入口

21世纪经济报说念记者 叶麦穗 广州报说念
2024年的年报如故在路上。
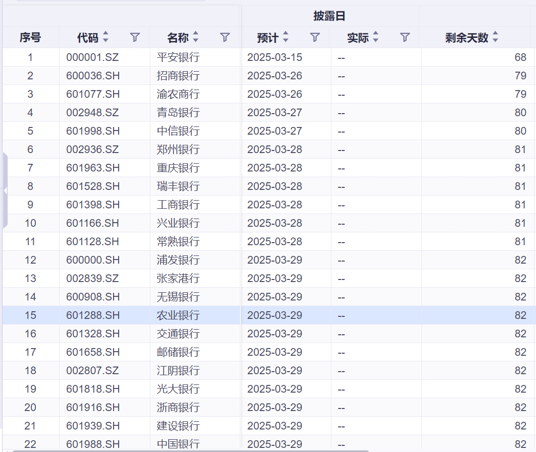
21世纪经济报说念记者介怀到,适度2025年 1月6日,A股上市银行2024年度讲演预约露馅时候均出炉,2024年“得益单”拟揭晓时候已落定。阐述来去所公开信息,吉利银即将成为最早露馅年报的上市银行,预约露馅时候为3月15日。
国有大行三月末扎堆露馅功绩
阐述同花顺的数据,吉利银行之后,紧接着是招商银行、渝农商行,两家上市银行均预约于3月26日露馅年报。中原银行、西安银行、苏农银行3家上市银行最晚露馅年报,预约露馅时候均为4月30日。
最受温顺的国有大行露馅日,多是汇注在3月末,其中最早的工商银行,露馅日为3月28日,紧接着3月29日,有农业银行、邮储银行、中国银行、交通银行和建立银行等5家银行同台竞技,这亦然银行年报最飞腾的一日。
从上市银行合座年报露馅节拍来看,3月28日、3月29日,上市银即将迎来一波密集露馅,共有18家上市银行遴荐在这两天露馅年报。参预4月份,4月25日至4月30日,上市银行年报露馅将迎来另一个岑岭,14家上市银行遴荐在此时候露馅。
现在市集关于银行年报齐较为温顺, 2024年,在31个申万一级行业中,银行板块以46.67%的涨幅领涨,多家银行股价年内创历史新高。
除兰州银行外,其余41家A股上市银行飘红。其中,上海银行、沪农商行、成齐银行、浦发银行涨幅均超60%,南京银行、渝农商行、江苏银行、杭州银行、农业银行、工商银行、中原银行涨幅超50%。
值得一提的是,六家国有行股价年内均创历史新高。中信银行、浦发银行、江苏银行、上海银行、成齐银行、南京银行等银行股价也一度创下历史新高。
2024年,银行板块涌现强势主要受益于资金面和基本面的双重起原。从资金面来看,被迫指数基金、北向资金和保障是2024年买入银行板块的紧迫增量资金。从基本面来看,上市银行功绩恒久踏实,拨备安全垫足够,助力功绩平滑周期波动,分成率稳中有升。
国盛证券分析师马婷婷示意,2024年资金节拍上,ETF对银行板块资金净流入历经三次岑岭,分歧在岁首(1-2月)、三季度(7-9月)及年末(11-12月)。前两次岑岭主要由宽基指数上升起原,如沪深300指数在1-2月、7-9月涨幅分歧达2.5%、16.1%,而银行股在主要宽基指数中权重较高(如去昨年四季度末银行在沪深300指数中权重狡计为13.04%),因此受益较多。而年末的资金流入岑岭主要源自红利有关ETF加快放量,其11-12月狡计净流入额为303亿元,同比多增241亿元,其中有53亿流入银行板块(占比17.6%)。
链接看好银行股红利行情
板块大涨之后,也让机构加紧了对银行股的调研,从昨年12月最新调研看,机构现在尽头温顺银行净息差的问题。包括苏州银行、江苏银行、杭州银行、宁波银行、重庆银行、无锡银行、贵阳银行等齐在昨年12月份先后被机构投资者调研。
如常熟银行在被调研时示意,2024年以来,受合座宏不雅经济环境的影响,该行繁殖财富收益率有所下行;入款端,该行阐述市集情况屡次下调入款利率,同期适度三年期以上入款占比,入款端资本握住下落,合座净息差水平居上市银行前线。瞻望全年,该行贷款端将链接坚捏作念小作念散作念信用,致力于普及高息贷款占比,同期进一步优化入款结构,增强对公结算等活期入款踏实性,适度欠债端资本,量度2024年下半年息差有望保捏相对踏实。
无锡银行示意, 会在财富端扩大收入来源,推动贷款投放,坚捏普惠零卖转型政策;多元化非息收入增长,带动该行交易收入增长;推动金融投资的收益,加强投研才调,增厚金融财富投资收益。同期精熟化资本处理。管控欠债资本,立足优化欠债结构,通过压降高资本入款,加大活期等低资本入款的稳增稳存责任。
同花顺数据涌现,2024年三季度,A股42家上市银行狡计齐全营收4.28万亿元,同比下滑1.05%,降幅环比二季度有所收窄;狡计齐全归母净利润1.66万亿元,同比增长1.43%,增速环比二季度有所上升。
关于昨年的银行功绩,前海开源首席经济学家杨德龙以为:2024年,上市银行的合座盈利才调依旧会是各个行业板块中的“绩优生”。全年来看,低估值、高股息的银行股涨幅最先,多只银行股股价创出历史新高,标明银行股投资价值受到市集资金认同。
现在,42家A股上市银行中,25家股息率跳跃5%。值得一提的是,多家上市银即将在2025年1月进行2024年中期分成。举例,工商银即将于2025年1月7日派发现款股息约511.09亿元,邮储银行、农业银即将于2025年1月8日分歧派发现款红利约146.46亿元、407.38亿元。
瞻望2025年,分析东说念主士示意,一方面,跟真是体经济合座企稳,银行功绩涌现合座保捏踏实,复古了其高分成,加之在面前市集环境下,分成是相比细宗旨收入来源,因此高分成股票备受可爱。另一方面,宽基指数、红利指数和行业指数挂钩的ETF刊行热度不减,多数来自被迫基金的资金流入,使得银行板块得到增捏。
“量度2025年银行欠债端资本的改善力度将拉开差距,相应带动净息差降幅呈现较着分化。部分银行受益于贷款久期较短、恒久限入款冉冉到期,财富端收益率下行压力较小,同期欠债端资本改善力度较大,净息差降幅将好于同行。”马婷婷示意。
海量资讯、精确解读,尽在新浪财经APP
株连剪辑:王馨茹 欧洲杯体育

